来源:互联网 更新时间:2025-10-11 00:24
10月10日消息,据媒体报道,宗馥莉在“十一”假期前已经辞任娃哈哈集团董事长兼总经理职位,此事已经通过股东会和董事会。
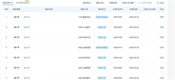
知情人士称,宗馥莉此次辞职是因为商标使用“不合规”,

据了解,宗馥莉1982年出生于浙江杭州,为杭州娃哈哈集团创始人宗庆后之女。2018年4月,宗馥莉担任娃哈哈集团品牌公关部部长,2020年3月起兼任娃哈哈集团销售公司副总经理,2021年担任娃哈哈集团副董事长兼总经理。
2024年8月,娃哈哈集团发生工商变更,宗馥莉接替去世的宗庆后,出任娃哈哈法定代表人、董事长,继续兼任总经理。
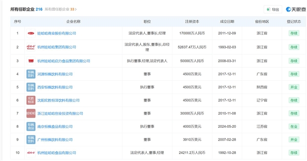
天眼查显示,宗馥莉关联企业超过200家,


LOL2025全球总决赛VKS战队名单
cf手游AWM
安徽师范大学给学生发150元过节费 学生:感觉被狠狠宠爱了
王者荣耀排位系统优化来袭
燕云十六声无门无派怎么样
抖音强制休息中怎么解除?强制休息中解除会封号吗?
重大突破!联影医疗“摄像”磁共振获批上市
燕云十六声江晏同款皮肤怎么获取
如何给抖音话题更改图片?给抖音话题更改图片侵权吗?
第三季超级华粉节重磅来袭 QQ音乐x华发股份夯实“音乐+N”IP
新月同行金桂有什么技能
LOL2025全球总决赛AL战队名单
抖音粉丝等级怎么看还有多久升级?它是怎么升级的?
燕云十六声怎么删除好友
阴阳师平将门技能是什么
萨妮羊研究室配置要求
抖音话题在哪里找的?话题设置封面有什么用?
百家号新人如何运作?新人有收益吗?
蚂蚁庄园每日答题答案2025年10月1日
回合制RPG《时空之缕》TGS2025预告发布
手机号码测吉凶
本站所有软件,都由网友上传,如有侵犯你的版权,请发邮件haolingcc@hotmail.com 联系删除。 版权所有 Copyright@2012-2013 haoling.cc